山東風途物聯網科技有限公司
聯系人:杜經理
聯系電話:16652863761
QQ:2749609891
公司地址:山東省濰坊市高新區光電路155號光電產業加速器(一期)

PRODUCT
聯系人:杜經理
聯系電話:16652863761
QQ:2749609891
公司地址:山東省濰坊市高新區光電路155號光電產業加速器(一期)
森林防火預警系統產品簡介
森林火災是森林生態系統的大敵,它能在很短時間內,燒毀大面積的森林和大量的林副產品,破壞林分結構和森林環境,破壞自然界生態平衡,造成氣候失調,水土流失,河流淤塞,洪水泛濫或水源枯竭。通過監測容易發生森林火災區域的風速風向、空氣的溫度、相對濕度、太陽輻射等氣象因子,森林防火預警系統可以對預防森林大火的發生,在發生大火時也可以指導工作人員進行快速合理的滅火工作,使財產損失降到低點。

二、森林防火預警系統產品特點
1、低功耗采集器:靜態功耗小于50uA
2、標配GPRS聯網、支持擴展藍牙、有線傳輸
3、7寸安卓觸屏,版本:4.4.2、四核Cortex?-A7,512M/4G
4、支持modbus485傳感器擴展
5、太陽能充電管理MPPT自動功率點跟蹤
6、三米碳鋼支架,兩節法蘭盤對接
7、短信報警,超限后向指定的手機上發送短信
8、ABS材質防護箱,耐腐蝕、抗氧化,防水等級IP66
三、森林防火預警系統技術參數
| 名稱 | 測量范圍 | 分辨率 | 準確度 |
| 環境溫度 | -50~+100℃ | 0.1℃ | ±0.5℃ |
| 相對濕度 | 0~100%RH | 0.1% | ±3% RH |
| 風向 | 0~360°(16方向) | 1° | ±5° |
| 風速 | 0~60m/s | 0.1m/s | ±(0.3+0.03V)m/s |
| 雨量 | ≦4mm/min | 0.2mm | ±0.4mm |
| 光照強度 | 0-200000Lux | 1Lux | ±2% |
| 大氣壓力 | 300~1100hPa | 0.1hPa | ±0.25% |
| 土壤溫度 | -50~+80℃ | 0.1℃ | ±0.5℃ |
| 土壤濕度 | 0~100% | 0.1% | ±3%RH |
| 二氧化碳 | 0-5000PPM | 1PPM | ±40PPM±讀數的3% |
| 可以根據用戶需求拓展配置:日照時數、蒸發量傳感器、露點溫度傳感器、紫外線輻射傳感器、光合輻射傳感器等各種氣象要素傳感器。 可加裝LED顯示屏(交流電供電),大小可調,實時采集到的氣象數據及其他設定的信息。 | |||
| 供電系統 | 市電/太陽能/多電源供電系統可選 | ||
| 通訊系統 | RS485、USB、無線GPRS、以太網等通訊方式 | ||
| 專用支架 | 安裝防護箱、傳感器、供電電源、通訊設備等 | ||
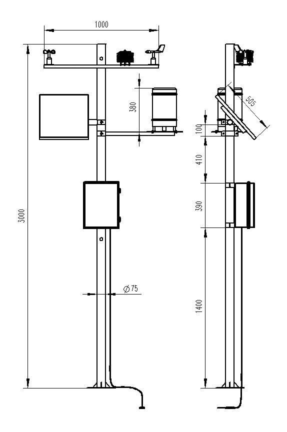
四、森林防火預警系統產品尺寸圖

五、森林防火預警系統產品結構圖

六、森林防火預警系統上位機軟件介紹
1、PC單機版數據接收、存儲、查看、分析軟件
2、支持串口數據接收、處理、展示
3、支持json字符串、modbus485等通信方式
4、可自設置存儲時間,modbus485采集模式下可自設置采集時間
5、支持自助增加、刪除、修改監測參數的協議、名稱、圖標等
6、支持數據后處理功能
7、支持外置運行javascript腳本
七、森林防火預警系統安卓APP介紹
1、安卓單機版數據接收、存儲、查看、分析軟件
2、支持藍牙數據接收
3、手機休眠后軟件后臺接收、處理
4、json數據自動添加設備,modbus設備支持掃碼添加設備
5、支持歷史數據查看、分析、導出表格,支持曲線展示、單數據點查看。
6、支持數據后處理功能
7、支持外置運行javascript腳本
八、森林防火預警系統云平臺介紹
1、CS架構軟件平臺,支持手機、PC瀏覽器直接觀測、無需額外安裝軟件。
2、支持多帳號、多設備登錄
3、支持實時數據展示與歷史數據展示儀表板
4、云服務器、云數據存儲,穩定可靠,易于擴展,負載均衡。
5、支持短信報警及閾值設置
6、支持地圖顯示、查看設備信息。
7、支持數據曲線分析
8、支持數據導出表格形式
9、支持數據轉發,HJ-212協議,TCP轉發,http協議等。
10、支持數據后處理功能
11、支持外置運行javascript腳本
生物毒性檢測儀
2020-02-06 05:52:45如何科學測定植物營養?
2021-05-31 06:24:39金屬氣象儀FT-WQX5S介紹
2025-07-11 17:05:25可口可樂首次在中國推出酒精飲料,你會嘗試嗎
2021-06-02 06:13:22智能電子氣象儀,讓露營更安心
2024-02-05 17:04:13微型氣象站的優點
2023-07-13 17:07:27戶外氣象監測系統介紹
2022-07-01 16:57:27微型環境空氣質量監測系統功能
2024-09-29 16:18:15大氣voc在線監測儀對鍋爐煙氣的實時監測
2020-01-15 02:47:01化工企業監測污染源 大氣環境需要加強治理
2019-09-05 08:15:35